HH单缸液压圆锥破碎机
图文详情
HH 系列单缸液压圆锥破碎机主要优势


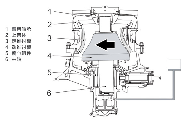
单缸圆锥破碎机工作时:电机带动破碎机的小齿轮,小齿轮带动大齿轮,大齿轮组件(大齿轮、大齿轮架、偏心钢套)带动偏心套组件(偏心缸套、偏心铜套)和主轴组件(主轴、内锥、内锥衬板)以理论垂直线为中心,在铜衬套内公转,主轴组件在偏心铜套内以主轴的中心线可以实现自转。空机运行的时候,偏心套组件“抱着”主轴组件和随大齿轮一同公转,当物料加入到破碎腔后,主轴总成(主轴、内锥)在物料的阻力下在偏心铜套内缓慢的自转。内锥的运行轨迹看起来是在破碎腔内来回摆动,同时缓慢的旋转。物料被摆动的内锥挤压破碎。支撑套与架体连接处靠液压缸压紧,当破碎机内落入金属块等不可破碎物体时,单缸的动锥由底部液压活塞托起,起到排放口调整和过铁保护、反复起落排除堵矿的作用。



|
型号 |
腔型 (mm) |
最大入料 (mm) |
排料口调整范围 (mm) |
生产量 (T/h) |
功率 (kw) |
|
HH200 |
特细型 细型 中细型 中型 粗型 特粗型 |
29 38 50 65 90 135 |
4.5-5.5 4-16 6-16 8-19 10-32 10-32 |
30-40 27-57 36-68 36-80 43-118 46-128 |
90 |
|
HH300 |
特细型 细型 中细型 中型 中粗型 粗型 特粗型 |
35 50 75 90 115 145 185 |
5-5.6 6-25 8-25 10-32 10-32 13-38 13-38 |
70-90 48-105 61-126 64-162 57-184 66-197 69-208 |
160 |
|
HH400 |
特细型 细型 中细型 中型 中粗型 粗型 特粗型 |
38 70 85 110 140 175 215 |
6-7.5 8-32 10-32 13-38 13-38 13-44 16-44 |
100-125 90-251 114-299 117-339 97-328 101-378 114-395 |
250 |
|
HH600 |
特细型 细型 中细型 中型 中粗型 粗型 准特粗 特粗型 |
65 85 115 135 175 215 245 275 |
13-22 13-38 13-38 16-38 16-44 16-51 16-51 16-51 |
211-298 195-401 192-451 197-502 162-552 171-643 174-654 177-662 |
315 |
免费获取产品报价